Рисунки для срисовки и не только Папик.Про


картинки извлечение цветов из

Картинки извлечение цветов из - это процесс анализа изображений с целью определения и извлечения основных цветов, присутствующих на картинке. Этот метод широко используется в дизайне, маркетинге, веб-разработке и других областях, где необходимо подобрать гармоничные цветовые палитры или провести анализ пользовательского поведения. Алгоритмы извлечения цветов могут определять как основные (преобладающие) цвета на изображении, так и более детальную информацию, такую как оттенки, насыщенность и яркость. Благодаря этому, дизайнеры и разработчики могут создавать эффективные и привлекательные графические элементы, которые соответствуют требованиям и предпочтениям целевой аудитории. Процесс извлечения цветов из картинок может быть выполнен с использованием специализированных программ или онлайн-сервисов, что делает его доступным для любого пользователя.


Трафарет для цветка из пластиковой бутылки
Трафарет для цветка из пластиковой бутылки

Извлечь палитру из фото
Извлечь палитру из фото

Каланхоэ перевалка
Каланхоэ перевалка

Кровный сгусток в лунке удаленного зуба
Кровный сгусток в лунке удаленного зуба

Мацерация эфирных масел
Мацерация эфирных масел

Перемешивание пробирок
Перемешивание пробирок

Чашелистики пестик тычинки венчик
Чашелистики пестик тычинки венчик

Эндодонтия в стоматологии
Эндодонтия в стоматологии

Розовое эфирное масло
Розовое эфирное масло

Тычинка пестик пыльник завязь
Тычинка пестик пыльник завязь

Розы из бисера схемы плетения
Розы из бисера схемы плетения

Материал для цветов из фоамирана
Материал для цветов из фоамирана

Актуальность интерьера
Актуальность интерьера

Методика пломбирования корневых каналов одной пастой
Методика пломбирования корневых каналов одной пастой

Пересадка растений
Пересадка растений

Что делать если укусиь Клед
Что делать если укусиь Клед

Ландыши из фоамирана мастер класс
Ландыши из фоамирана мастер класс

Этапы технологии трансплантации эмбрионов
Этапы технологии трансплантации эмбрионов

Сохранение срезанных цветов.
Сохранение срезанных цветов.

Как вставить картинку в картинку в Ворде
Как вставить картинку в картинку в Ворде

Одноразовый держатель (bd Vacutainer one use Holder) (вид 144120)
Одноразовый держатель (bd Vacutainer one use Holder) (вид 144120)

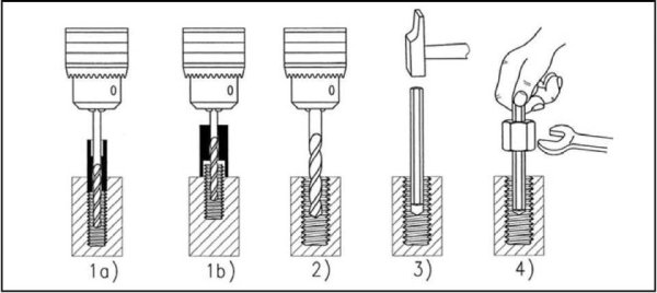
Сверло м10... Для высверливания шпилек?
Сверло м10... Для высверливания шпилек?

Извлечение раненых из бронетехники
Извлечение раненых из бронетехники

Схема сбора букета
Схема сбора букета

Горшок для цветов с землей
Горшок для цветов с землей

Влагалищное кесарево сечение
Влагалищное кесарево сечение

Космея фоамиран мастер класс
Космея фоамиран мастер класс

Инструмент для извлечения отломков инструментов из корневых каналов
Инструмент для извлечения отломков инструментов из корневых каналов

Экстракты растений
Экстракты растений

Оксалис размножение клубнями
Оксалис размножение клубнями

Эндодонтия инструменты названия
Эндодонтия инструменты названия

Строение цветка яблони биология схема
Строение цветка яблони биология схема

Порт система для внутривенного введения
Порт система для внутривенного введения

Строение пестика цветковых растений
Строение пестика цветковых растений

Грунт для фитильного полива фиалок
Грунт для фитильного полива фиалок

Цветы из пластиковых бутылок своими руками
Цветы из пластиковых бутылок своими руками

Чашелистики пестик тычинки венчик
Чашелистики пестик тычинки венчик

Строение пестика цветковых растений
Строение пестика цветковых растений

Как вытащить клеща с помощью нитки
Как вытащить клеща с помощью нитки

Схемы цветов из гофрированной бумаги
Схемы цветов из гофрированной бумаги

Как достать картинку из видео на ютубе
Как достать картинку из видео на ютубе

Конструктивное рисование цветов
Конструктивное рисование цветов

Отвар в банке
Отвар в банке

Как делают цветы из проволоки и капрона
Как делают цветы из проволоки и капрона

Извлечь изображения из pptx
Извлечь изображения из pptx

Строение цветка с простым околоцветником
Строение цветка с простым околоцветником

Шаблоны цветов для вырезания
Шаблоны цветов для вырезания

Вакуумная пробирка перемешивание
Вакуумная пробирка перемешивание


Цветок из дна пластиковой бутылки
Цветок из дна пластиковой бутылки

Собери мозаику из цветов
Собери мозаику из цветов

Сохранение срезанных цветов.
Сохранение срезанных цветов.

Вырезать в паинте
Вырезать в паинте

Изготовка для стрельбы из пистолета
Изготовка для стрельбы из пистолета

Сбор плодов и семян
Сбор плодов и семян

Экстракция растворителями эфирных масел
Экстракция растворителями эфирных масел

Многокорневой пульпит
Многокорневой пульпит

Прозрачный фон в графическом редакторе
Прозрачный фон в графическом редакторе

Акушерские щипцы Чемберлена
Акушерские щипцы Чемберлена

Маковая головка опиум
Маковая головка опиум

Цветы из пластика для начинающих
Цветы из пластика для начинающих

Instrument removal System (IRS)
Instrument removal System (IRS)

Опиум это опиаты
Опиум это опиаты

Анфлераж эфирных масел схема
Анфлераж эфирных масел схема

Основные принципы внедрения системы электронного документооборота?
Основные принципы внедрения системы электронного документооборота?

Вытащить картинки из pdf
Вытащить картинки из pdf

Средства просмотра изображений в телефоне
Средства просмотра изображений в телефоне

Строение цветка яблони биология 6 класс схема
Строение цветка яблони биология 6 класс схема

Смотрите онлайн или можете скачать на телефон или компьютер в хорошем качестве совешенно бесплатно. Не забывайте оставить комментарий и посмотреть другие фотографии и изображения высокого качества, например картинки зомби цветы и картинки балконные цветы из раздела Цветы


Уважаемый посетитель, Вы зашли на сайт как незарегистрированный пользователь. Мы рекомендуем Вам зарегистрироваться либо зайти на сайт под своим именем.
Ваше имя: *
Ваш e-mail: *
  • Смайлы и люди
    Животные и природа
    Еда и напитки
    Активность
    Путешествия и места
    Предметы
    Символы
    Флаги
Код: Кликните на изображение чтобы обновить код, если он неразборчив
Введите код: